Nintendo Has Recently Filed A Patent That Turns A Nintendo Switch Joy-Con Strap Into A Stylus

Nintendo Has Recently Filed A Patent That Turns A Nintendo Switch Joy-Con Strap Into A Stylus

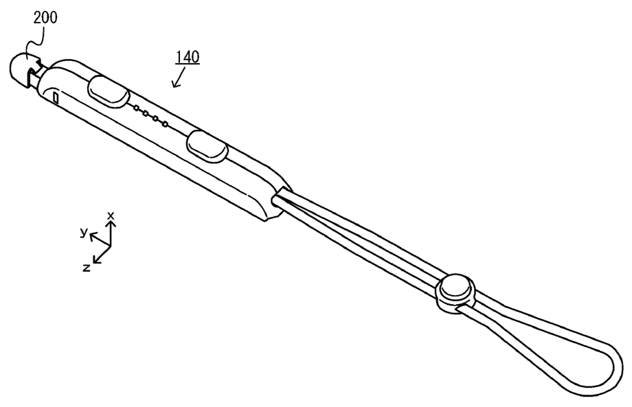
Nintendo has recently filed a new patent for the Nintendo Switch's Joy-Con strap, which will allow players to use both the Joy-Con and its strap as a stylus.

By PosingKyle - Jan 20, 2020 03:01 PM EST
Filed Under: Nintendo
Source: Siliconera
Nintendo has recently filed a rather interesting patent, which could make Nintendo Switch games that require using the touchscreen a whole lot easier; especially for those users who simply don't like using their fingers to touch the console's plastic screen.

As per the patent filed on the United States Patent and Trademark Office, a stylus will be added to the Nintendo Switch's Joy-Con straps, allowing plyers to use their Joy-Con controllers as the stylus itself, and have easy access to the stylus itself.

The games that could make good use of this new Joy-Con strap are Super Mario Maker 2, Doctor Kawashima's Brain Training for Nintendo Switch, and even the software that's included with the several Nintendo Labo kits.

One of the images even suggests that the Joy-Con can detect certain objects being touched on the Nintendo Switch's screen and react to it by vibrating; something that could definitely be useful for future games.

There is another image that sees the Joy-Con's stylus drawing a line and changing its size by the touch of a button; considering the sheer amount of cleverly designed games Nintendo often develops, this could really end up being a great peripheral.

Take a look:











LEGO GAME BOY Set Fully Revealed With Swappable MARIO and ZELDA Cartridges; Pre-Orders Now Live
Related:

LEGO GAME BOY Set Fully Revealed With Swappable MARIO and ZELDA Cartridges; Pre-Orders Now Live

DONKEY KONG Could Soon Be Throwing Barrels In His Own Animated Movie As Nintendo And Universal File Copyright
Recommended For You:

DONKEY KONG Could Soon Be Throwing Barrels In His Own Animated Movie As Nintendo And Universal File Copyright

DISCLAIMER: As a user generated site and platform, GameFragger.com is protected under the DMCA (Digital Millenium Copyright Act) and "Safe Harbor" provisions.

This post was submitted by a user who has agreed to our Terms of Service and Community Guidelines. GameFragger.com will disable users who knowingly commit plagiarism, piracy, trademark or copyright infringement. Please CONTACT US for expeditious removal of copyrighted/trademarked content. CLICK HERE to learn more about our copyright and trademark policies.

Note that GameFragger.com, and/or the user who contributed this post, may earn commissions or revenue through clicks or purchases made through any third-party links contained within the content above.

Be the first to comment and get the conversation going!

View Recorder