Nintendo Have Filed Some Interesting Patents That Could Be Hinting At Their Next Big Handheld Project

Nintendo Have Filed Some Interesting Patents That Could Be Hinting At Their Next Big Handheld Project

Nintendo has recently filed some very interesting patents that could be leading to a next handheld device, in the likes of the Nintendo 3DS or even the Nintendo Switch, but that doesn't really mean they will...

By PosingKyle - Apr 17, 2018 08:04 AM EST
Filed Under: Nintendo
Source: YouTube
Big companies like Nintendo and Sony are always filing new patents for upcoming consoles, handhelds and peripherals. A lot of those patents are never used as companies like to register ideas that they may think end up becoming something profitable.

But Nintendo has a track record of filing patents that will eventually, and most likely, end up becoming a product. The first glimpses we ever had of the Nintendo Switch, as a concept, were through patents Nintendo had filed some time before the Nintendo Switch was revealed. Nintendo even filed a patent for the Donkey Konga Drums a bit over a month ago and we still haven't heard anything since.

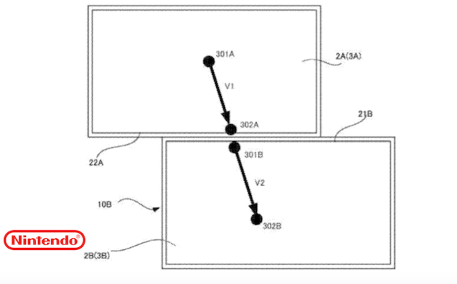
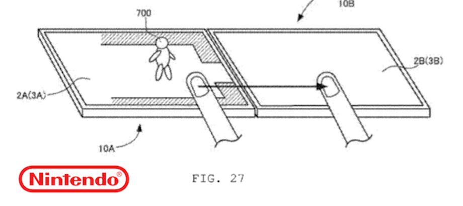
The patent they recently filed seems to show off sets of screen that seem to work independently but, at the same time, process information between each other as some patents seem to suggest you could drag your finger through the screens and interact with the image shown in all of them.

What's interesting is that it is rather unlikely that these screens are Nintendo Switch consoles because, while these patents could be Software for the Nintendo Switch, it forces users to own more than one, or to use said software with other people locally. Nintendo are no strangers to pushing connectivity onto their consoles like they've done in the past with the Pokemon link cables for the Game Boy, or the Four Player Adapter. But the Nintendo Switch is being treated as a home console, as well, and it costs almost as much. So it is definitely not the same to be carrying a Game Boy(like back in the day) and playing with your friends, than to be carrying a $300 Nintendo Switch and expect your friends to own one.

Is this another Nintendo DS of sorts? Maybe Nintendo are planning to release a budget handheld more in the likes of the 3DS, instead of these patents being an add-on for the Switch and continue to treat the Nintendo Switch as a home console first and handheld second. All we can do right now is just wait for more information on this, until then...everything is possible.

Again, patents like these are filed quite often and some don't even end up becoming a product at all. Whatever Nintendo may have up their sleeve with these patents, though, will probably end up working out for them, as well as the users.


patent1


patent2


patent3


patent4


patent2


patent5

patent6


patent7
About The Author:
PosingKyle
Member Since 4/19/2011
Star Fox Could Return With Two New Games As Rumors Brew Of A 2026 Multiplayer Spin-Off And Single-Player Title
Related:

Star Fox Could Return With Two New Games As Rumors Brew Of A 2026 Multiplayer Spin-Off And Single-Player Title

Pokemon Champions Receives Rapid Bug Fixes One Day After Launch
Recommended For You:

Pokemon Champions Receives Rapid Bug Fixes One Day After Launch

DISCLAIMER: As a user generated site and platform, GameFragger.com is protected under the DMCA (Digital Millenium Copyright Act) and "Safe Harbor" provisions.

This post was submitted by a user who has agreed to our Terms of Service and Community Guidelines. GameFragger.com will disable users who knowingly commit plagiarism, piracy, trademark or copyright infringement. Please CONTACT US for expeditious removal of copyrighted/trademarked content. CLICK HERE to learn more about our copyright and trademark policies.

Note that GameFragger.com, and/or the user who contributed this post, may earn commissions or revenue through clicks or purchases made through any third-party links contained within the content above.

Be the first to comment and get the conversation going!

View Recorder